Apex Microtechnology VRE107 Low Drift Precision Voltage Reference

Apex Microtechnology VRE107 Low Drift Precision Voltage Reference provides an ultrastable +5V output with ±0.8mV initial accuracy and a 1.33ppm/°C temperature coefficient over the full military temperature range. Improved accuracy is possible by a multipoint laser compensation technique. Other improvements include initial accuracy, warm-up drift, line regulation, and long-term stability. These features make the VRE107 series more accurate and stable. The Apex Microtechnology VRE107 is available in two performance grades. These devices are packaged in a 14-pin hermetic ceramic package for maximum long-term stability. "M" versions are screened for high reliability and quality. Superior stability, accuracy, and quality make these references ideal for precision applications. These applications include A/D and D/A converters, high-accuracy test and measurement instrumentation, and transducer excitation.

Features

  • ±5 V output, ±0.8mV high accuracy
  • 1.33ppm/°C (-55°C to +125°C) low drift
  • 6ppm/1000 hours typical excellent stability
  • 6ppm/V typical excellent line regulation
  • ±13.5V to ±22V wide supply range
  • Military processing option

Applications

  • Precision A/D and D/A converters
  • Transducer excitation
  • Accurate comparator threshold reference
  • High-resolution servo systems
  • Digital voltmeters
  • High-precision test and measurement instruments

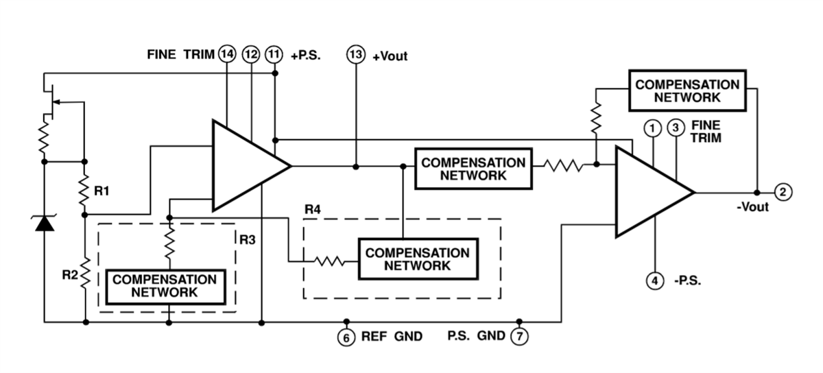
BLOCK DIAGRAM

Block Diagram - Apex Microtechnology VRE107 Low Drift Precision Voltage Reference

Infographic

Infographic - Apex Microtechnology VRE107 Low Drift Precision Voltage Reference

eBook

Apex Microtechnology VRE107 Low Drift Precision Voltage Reference
Published: 2020-08-24 | Updated: 2024-04-08