Apex Microtechnology VRE104 Ultrastable +4.5V Output Voltage Reference
Apex Microtechnology VRE104 Ultrastable +4.5V Output Voltage Reference provides up to a ±0.8mV initial accuracy and a 1.48 ppm/°C temperature coefficient over the full military temperature range. The VRE104 has superior stability, accuracy, and quality, making it ideal for precision applications. Applications include high-accuracy test and measurement instrumentation and transducer excitation. The Apex Microtechnology VRE104 can operate in two temperature ranges, -25°C to +85°C and -55°C to +125°C, and two performance grades. The devices are housed in a 14-pin hermetic ceramic package for maximum long-term stability.Features
- +4.5V output, ±0.8mV very high accuracy
- 1.48 ppm/°C (-55°C to +125°C) extremely low drift
- 6ppm/1000 hours typical excellent stability
- 6ppm/V typical excellent line regulation
- ±13.5V to ±22V wide supply range
- Hermetic 14-pin ceramic DIP
Applications
- Precision A/D and D/A converters
- Transducer excitation
- Accurate comparator threshold reference
- High-resolution servo systems
- Digital voltmeters
- High-precision test and measurement instruments
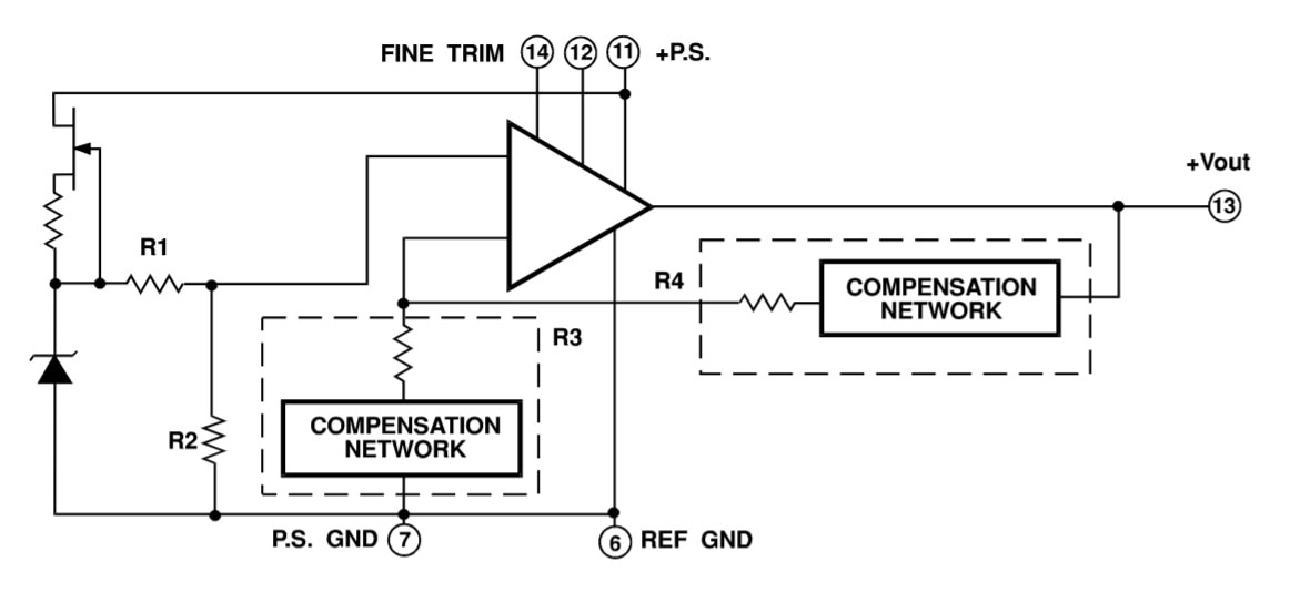
Block Diagram
Published: 2020-08-24
| Updated: 2024-04-08
