Texas Instruments MSP430F5528 / MSP430F5529 Microcontrollers
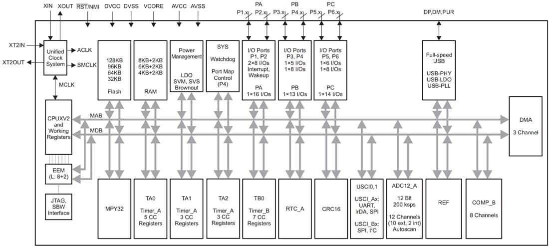
Texas Instruments MSP430F5528 and MSP430F5529 mixed-signal microcontrollers (MCUs) are part of the ultra-low-power MSP430 MCU family. These MCUs are configured with integrated USB and PHY supporting USB 2.0, four 16-bit timers, a high-performance 12-bit ADC, and a real-time clock module with alarm capabilities. The Texas Instruments MSP430F5528 has the same peripherals as the MSP430F5529 MCU but has 47 I/O pins compared to 63 I/O pins on the MSP430F5529. Typical applications for these TI MCUs include analog and digital sensor systems, data loggers, and other applications requiring connectivity to various USB hosts.Features
- 1.8V to 3.6V Low Supply-Voltage Range
- Ultra-low Power Consumption
- 25MHz Frequency
- 128KB Flash
- Wake-Up From Standby Mode in Less Than 5µs
- 16-Bit RISC Architecture, Extended Memory, up to 25MHz System Clock
- Flexible Power Management System
- Unified Clock System
- 16-Bit Timer TA0, Timer_A With Five Capture/Compare Registers
- 16-Bit Timer TA1, Timer_A With Three Capture/Compare Registers
- 16-Bit Timer TA2, Timer_A With Three Capture/Compare Registers
Applications
- Analog and Digital Sensor Systems
- Data Loggers
Software Tool
MSP430F5528 Block Diagram
MSP430F5529 Block Diagram
Published: 2010-02-22
| Updated: 2025-04-16
