Texas Instruments TXS0108E/TXS0108E-Q1 Voltage-Level Shifters
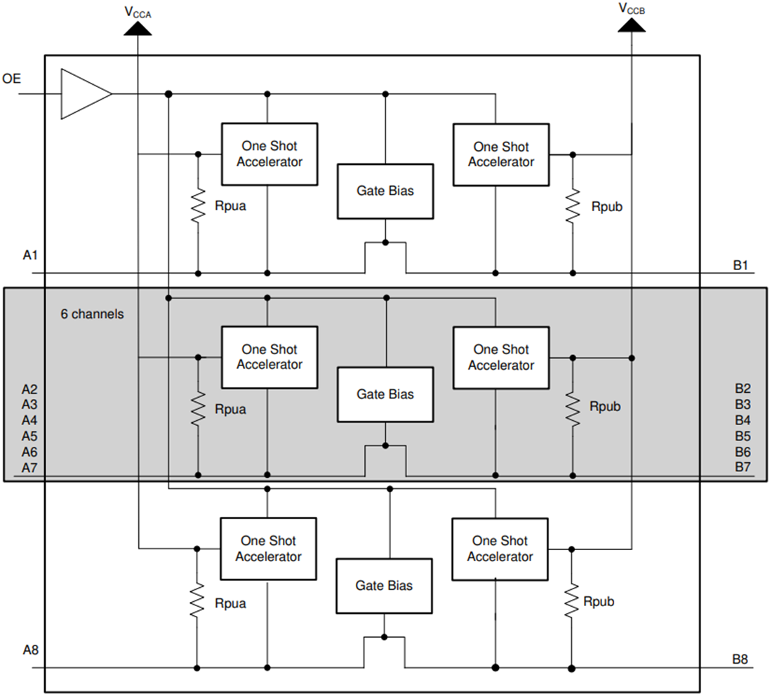
Texas Instruments TXS0108E/TXS0108E-Q1 Bidirectional Voltage-Level Shifters are 8-bit non-inverting level translators using two configurable power-supply rails. The A port tracks the VCCA pin supply voltage. The VCCA pin accepts any supply voltage between 1.4V and 3.6V. The B port tracks the VCCB pin supply voltage. The VCCB pin accepts any supply voltage between 1.65V and 5.5V. Two input supply pins on the Texas Instruments TXS0108E/TXS0108E-Q1 allow for low-voltage bidirectional translation between 1.5V, 1.8V, 2.5V, 3.3V, and 5V voltage nodes.When the output-enable (OE) input is low, all outputs are placed in the high-impedance (Hi-Z) state. To ensure the Hi-Z state during power-up or power-down periods, tie OE to GND through a pull-down resistor. The driver's current sourcing capability determines the minimum value of the resistor. The TXS0108E-Q1 devices are AEC-Q100 qualified for automotive applications.
Features
- No direction-control signal needed
- Maximum data rates
- 110Mbps (push-pull)
- 1.2Mbps (open-drain)
- 1.4V to 3.6V on A port and 1.65V to 5.5V on B port (VCCA ≤ VCCB)
- No power-supply sequencing required – either VCCA or VCCB can be ramped first
- Latch-up performance exceeds 100mA per JESD 78, Class II
- ESD protection exceeds JESD 22 (A Port)
- 2000V human body model (A114-B)
- 150V machine model (A115-A)
- 1000V charged-device model (C101)
- IEC 61000-4-2 ESD (B port)
- ±8kV contact discharge
- ±6kV air-gap discharge
Applications
- Handsets
- Smartphones
- Tablets
- Desktop PCs
Functional Block Diagram
Published: 2020-08-13
| Updated: 2025-05-13
