Texas Instruments TSD5402-Q1 Class-D Sensor Driving Amplifier
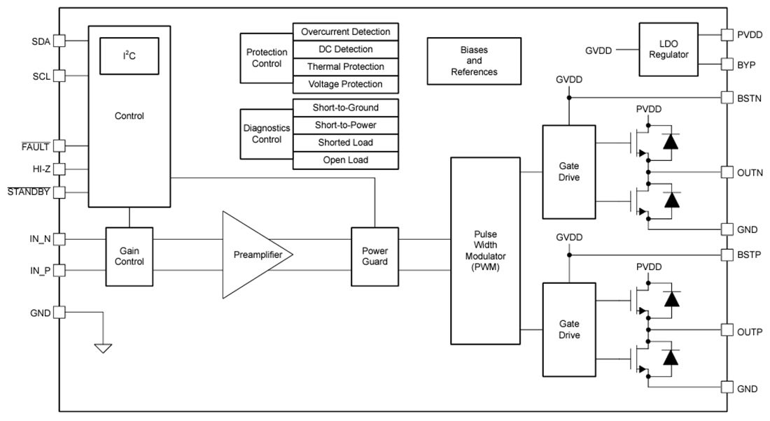
Texas Instruments TSD5402-Q1 Class-D Sensor Driving Amplifier is ideal for automotive and industrial applications. These applications include, but are not limited to, resolver-based motor control, braking systems, electric power steering, servos, and flight control surfaces. The Texas Instruments TSD5402-Q1 has a wide operating voltage range and excellent efficiency, making it ideal for applications that require design flexibility. The integrated load-dump protection reduces external voltage clamp cost and size, and the onboard load diagnostics report the load status through I2C. The integrated shorted load and open load diagnostics allow systems to avoid external implementations.Features
- AEC-Q100 qualified for automotive applications with a temperature grade 1 of –40°C to 125°C, TA
- Mono BTL digital power amplifier
- 8W output power at 10% THD+N into 4Ω
- 4.5V to 18V operating range
- 83% efficiency into 4Ω
- Differential analog input
- Power guard protection (adjustable voltage limiter)
- 75dB power-supply rejection ratio (PSRR)
- Load diagnostic functions
- Open and shorted output load
- Output-to-power and output-to-ground shorts
- Protection and monitoring functions
- Short-circuit protection
- 40V load dump protection per ISO-7637-2
- Output DC level detection
- Overtemperature protection
- Overvoltage and undervoltage protection
- Thermally enhanced 16-pin HTSSOP (PWP) package with PowerPAD™ package (pad down)
- Designed for automotive EMC requirements
- ISO9000 (2002 TS16949 certified)
- 40V load dump protection in standby
- Non-blocking I2C in standby
Applications
- Resolver-based automotive and industrial applications
- HEV/EV inverter and motor control
- Electric power steering (EPS)
- Rearview mirror module
- Automotive eMirrors
- Servo drive power stage module
- Flight control system
Functional Block Diagram
Additional Resources
Published: 2024-10-30
| Updated: 2025-05-09
