Texas Instruments TMUX9616QFPEVM Evaluation Module

Texas Instruments TMUX9616QFPEVM Evaluation Module is designed to quickly and easily prototype the TMUX9616PT and TMUX9616NPT multiplexers. The TMUX9616 and TMUX9616N are 16-channel, low-resistance, low-capacitance, high-voltage analog switch integrated circuits (ICs) with latch-up immunity. The devices have 16 independently selectable 1:1, single-pole, single-throw (SPST) switch channels and operate with dual supplies up to ±110V. The TMUX9616 features bleed resistors on the output, while the TMUX9616N does not.

The TMUX9616N can be ordered separately and placed on the TI TMUX9616QFPEVM for evaluation.

Features

  • Integrated SPI controller hardware and GUI for communications with TMUX9616
  • Direct docking headers for easy TX7516 pulser integration
  • Header pins for monitoring all source and drain pins and digital control pins
  • Power supply terminals for VDD, VLL, and GND with populated decoupling capacitors near the input supply terminal and device
  • Thermal shutdown monitoring circuit with LED signal

Applications

  • Medical ultrasound imaging
  • NDT metal flaw detection
  • Piezoelectric transducer drivers
  • Ultrasonic flow transmitters
  • Printers
  • Optical MEMS modules

Kit Contents

  • TMUX9616QFPEVM
  • Mini-USB cable

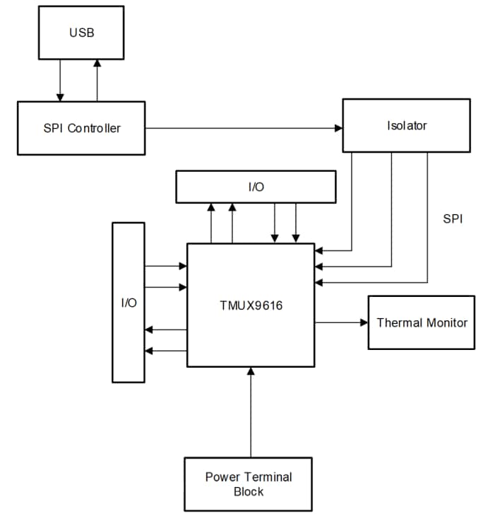
Functional Block Diagram

Block Diagram - Texas Instruments TMUX9616QFPEVM Evaluation Module

Layout

Texas Instruments TMUX9616QFPEVM Evaluation Module
Published: 2025-05-29 | Updated: 2025-06-06