Texas Instruments PCM6140-Q1 Audio ADCs

Texas Instruments PCM6140-Q1 Audio ADCs are multichannel high-performance ADCs with Burr-Brown™ technology. These ADCs feature an 8kHz to 768kHz sample rate and 122dB Signal-to-Noise Ratio (SNR). The device supports line and microphone inputs and allows single-ended and differential input configurations. These ADCs integrate programmable channel gain, digital volume control, microphone bias voltage, Phase-Locked Loop (PLL), programmable high-pass filter, biquad filters, and low-latency filter modes. The PCM6140-Q1 devices are AEC-qualified for automotive applications.

The PCM6140-Q1 Audio ADCs are integrated with high-performance features and can be powered from a supply of 3.3V or 1.8V. This makes the device excellent for space-constrained audio systems in far-field microphone recording applications. These audio ADCs operate from -40°C to 125°C temperature range and come in a 24-pin VQFN package. The PCM6140-Q1 audio ADCs microphone array systems, voice-activated digital assistants, teleconferencing systems, and security and surveillance systems.

Features

  • Multichannel high-performance ADCs:
    • 4-channel analog microphones or line-in
    • 8-channel digital PDM microphones or a combination of analog and digital microphones
  • ADC line and microphone differential input performance:
    • Dynamic Range (DR):
      • 123dB Dynamic Range Enhancer (DRE) enabled
      • 113dB DRE disabled
    • -98dB THD+N
  • ADC channel summing mode, DR performance:
    • 116dB, DRE disabled, 2-channel summing
    • 119dB, DRE disabled, 4-channel summing
  • ADC input voltage:
    • Differential, 2VRMS full-scale inputs
    • Single-ended, 1VRMS full-scale inputs
  • ADC sample rate (fS) = 8kHz to 768kHz
  • Programmable channel settings:
    • Channel gain: 0dB to 42dB, 1dB steps
    • Digital volume control: -100dB to 27dB
    • Gain calibration with 0.1dB resolution
    • Phase calibration with 163ns resolution
  • Programmable microphone bias or supply voltage generation
  • Low-latency signal processing filter selection
  • Programmable High Pass Filter (HPF) and biquad digital filters
  • Automatic Gain Controller (AGC)
  • I2C or SPI controls
  • Integrated high-performance audio PLL
  • Automatic clock divider setting configurations
  • Audio serial data interface:
    • Format: TDM, I2S, or Left-Justified (LJ)
    • Word length: 16-bits, 20-bits, 24-bits, or 32-bits
    • Controller or target interface
  • 3.3V or 1.8V single supply operation
  • 3.3V or 1.8V I/O supply operation
  • Power consumption for 1.8V AVDD supply:
    • 8.5mW/channel at 16kHz sample rate
    • 9.2mW/channel at 48kHz sample rate

Applications

  • Microphone array systems
  • Voice-activated digital assistants
  • Teleconferencing systems
  • Security and surveillance systems

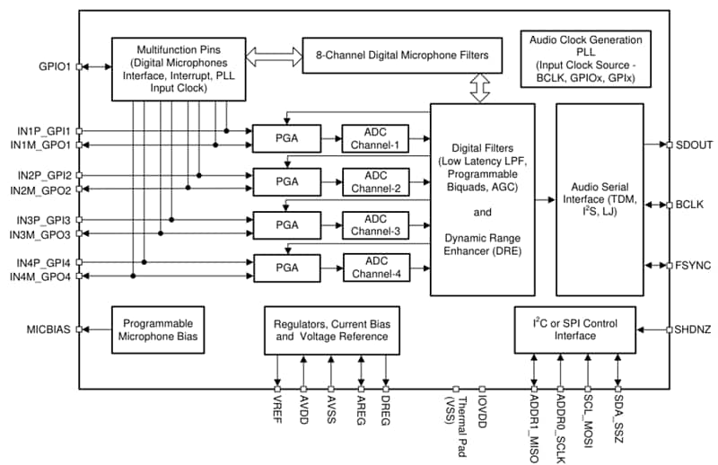
Functional Block Diagram

Block Diagram - Texas Instruments PCM6140-Q1 Audio ADCs
Published: 2024-04-24 | Updated: 2025-05-08