Texas Instruments MSP430G2x53 Mixed Signal MCUs

Texas Instruments MSP430G2x53 Mixed Signal Microcontrollers are ultra-low-power MCUs with built-in 16-bit timers, up to 24 I/O touch-sense-enabled pins, a versatile analog comparator, and built-in communication capability using the universal serial communication interface. TI MSP430G2x53 MCUs also have a 10-bit analog to digital converter. MSP430G2x53 MCUs are part of the MSP430G2xx MSP430 Value Line with up to 16 MIPS with 1.8V-3.6V operation. These TI low-power MCUs have a very-low power oscillator, internal pull-up/pull-down resistors, and low-pin count options.

Features

  • Low supply-voltage range: 1.8V to 3.6V
  • Ultra-low power consumption
    • Active mode: 230µA at 1MHz, 2.2V
    • Standby mode: 0.5µA
    • Off mode (RAM retention): 0.1µA
  • Five power-saving modes
  • Ultra-fast wake-up from standby mode in less than 1µs
  • 16-bit RISC architecture, 62.5ns instruction cycle time
  • Basic clock module configurations
    • Internal frequencies up to 16MHz with 4x calibrated frequency
    • Internal very-low-power low-frequency (LF) oscillator
    • 32kHz crystal
    • External digital clock source
  • Two 16-bit Timer_A With 3x capture/compare registers
    • Up to 24 touch-sense-enabled I/O pins
    • Universal Serial Communication Interface (USCI)
  • Enhanced UART supporting auto baudrate detection (LIN)
    • IrDA encoder and decoder
    • Synchronous SPI
    • I²C

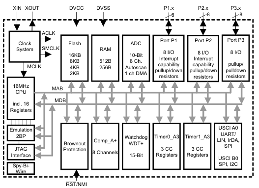
Block Diagram

Block Diagram - Texas Instruments MSP430G2x53 Mixed Signal MCUs
Published: 2012-01-20 | Updated: 2025-04-16