Texas Instruments MSP430FR263x / MSP430FR253x Ultra-Low-Power MCUs
Texas Instruments MSP430FR263x / MSP430FR253x Ultra-Low-Power Microcontrollers are FRAM-based ultra-low-power MSP microcontrollers that feature CapTIvate touch technology. These are designed for buttons, sliders, wheels (BSW), and proximity applications. CapTIvate technology provides the highest resolution capacitive-touch solution in the market with high reliability and noise immunity at the lowest power. CapTIvate technology supports concurrent self-capacitance and mutual-capacitance electrodes on the same design for maximum flexibility. Using the CapTIvate Design Center, engineers can quickly develop BSW applications with an easy-to-use GUI.Features
- Embedded microcontroller:
- 16-Bit RISC architecture
- Clock supports frequencies up to 16MHz
- Wide supply voltage range from 1.8V to 3.6V (minimum supply voltage is restricted by SVS levels)
- Optimized ultra-low-power modes:
- Active mode: 126µA/MHz (Typical)
- Standby
- 1.7µA/Button Average (Typical) (16 self-capacitance buttons, 8Hz scanning)
- 1.7µA/Button Average (Typical) (64 mutual-capacitance buttons, 8Hz scanning)
- LPM3.5 Real-Time Clock (RTC) counter with 32768Hz crystal: 770nA (Typical)
- Shutdown (LPM4.5): 15nA (Typical)
- Low-Power Ferroelectric RAM (FRAM):
- Up to 15.5KB of non-volatile memory
- Built-In Error Correction Code (ECC)
- Configurable write protection
- Unified memory of program, constants, and storage
- 1015 write cycle endurance
- Radiation resistant and non-magnetic
- High FRAM-to-SRAM ratio, up to 4:1
- Intelligent Digital Peripherals:
- Four 16-Bit Timers
- Two Timers with Three Capture/Compare Registers each (Timer_A3)
- Two Timers with Two Capture/Compare Registers each (Timer_A2)
- One 16-Bit Timer associated with CapTIvate Technology
- One 16-Bit counter-Only RTC
- 16-Bit Cyclic Redundancy Check (CRC)
- Four 16-Bit Timers
- Enhanced serial communications:
- Two enhanced universal serial communication interfaces (eUSCI_A) support UART, IrDA, and SPI
- One eUSCI (eUSCI_B) supports SPI and I2C
- High-performance analog:
- 8-Channel 10-Bit Analog-to-Digital Converter (ADC)
- Internal 1.5V reference
- Sample-and-Hold 200ksps
- CapTIvate Technology - Capacitive Touch
- Performance:
- Fast electrode scanning with four simultaneous scans
- Support for high-resolution sliders with >1024 points
- 30cm proximity sensing
- Performance:
- Reliability:
- Increased immunity to power-line, RF, and other environmental noise
- Built-in spread spectrum, automatic tuning, noise filtering, and debouncing algorithms
- Enables reliable touch solutions with 10V RMS common-mode noise, 4kV electrical fast transients, and 15kV electrostatic discharge, allowing for IEC-61000-4-6, IEC-61000-4-4, and IEC-61000-4-2 compliance
- Reduced RF emissions to simplify electrical designs
- Support for metal touch and water rejection designs
- Flexibility:
- Up to 16 self-capacitance and 64 mutual-capacitance electrodes
- Mix and match self and mutual-capacitive electrodes in the same design
- Supports multi-touch functionality
- Wide range of capacitance detection, wide electrode range of 0 to 300pF
- Low Power:
- < 0.9µA/Button in wake-on-touch mode, where capacitive measurement and touch detection is done by hardware state machine while CPU is Asleep
- Wake-on-Touch state machine allows electrode scanning while CPU is Asleep
- Hardware acceleration for environmental compensation, filtering, and threshold detection
- Ease of use:
- CapTIvate design center, PC GUI lets engineers design and tune capacitive buttons in Real Time without having to write code
- CapTIvate software library in ROM provides Ample FRAM for customer application
- Ease of use:
- 8-Channel 10-Bit Analog-to-Digital Converter (ADC)
- Clock System (CS):
- On-Chip 32kHz RC Oscillator (REFO)
- On-Chip 16MHz Digitally Controlled Oscillator (DCO) with Frequency-Locked Loop (FLL)
- ±1% accuracy with On-Chip reference at room temperature
- On-Chip very low-frequency 10kHz Oscillator (VLO)
- On-Chip high-frequency Modulation Oscillator (MODOSC)
- External 32kHz crystal Oscillator (LFXT)
- Programmable MCLK Prescalar of 1 to 128
- SMCLK derived from MCLK with programmable Prescalar of 1, 2, 4, or 8
- General Input/Output and pin functionality:
- Total of 19 I/Os on TSSOP-32 package
- 16 interrupt pins (P1 and P2) can wake MCU from low-power modes
- Development tools and software
- Ease-of-Use ecosystem
- CapTIvate design center - code generation, customizable GUI, real-time tuning
- Free Professional Development Environments
- 12KB ROM library includes CapTIvate touch libraries and driver libraries
- Family members:
- MSP430FR2633: 15KB of program FRAM + 512B of information FRAM + 4KB of RAM up to 16 self-capacitive and 64 mutual-capacitive sensors
- MSP430FR2533: 15KB of program FRAM + 512B of information FRAM + 2KB of RAM up to 16 self-capacitive or 16 mutual-capacitive sensors
- MSP430FR2632: 8KB of program FRAM + 512B of information FRAM + 2KB of RAM up to 8 self-capacitive or 16 mutual-capacitive sensors
- MSP430FR2532: 8KB of program FRAM + 512B of information FRAM + 1KB of RAM up to 8 self-capacitive or 8 mutual-capacitive sensors
Applications
- Thermostats
- Electronic access control
- Lighting control
- Electronic door locks
- White goods
- Small appliances
- Personal electronics
Additional Resources
Videos
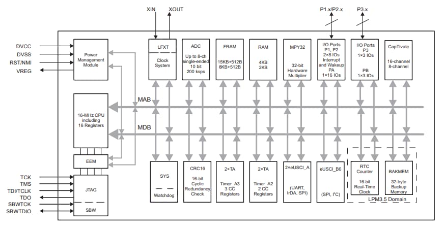
Functional Block Diagram
Published: 2016-02-17
| Updated: 2025-04-16
