Texas Instruments MSP430F21x2 16-Bit Ultra-Low-Power MCUs

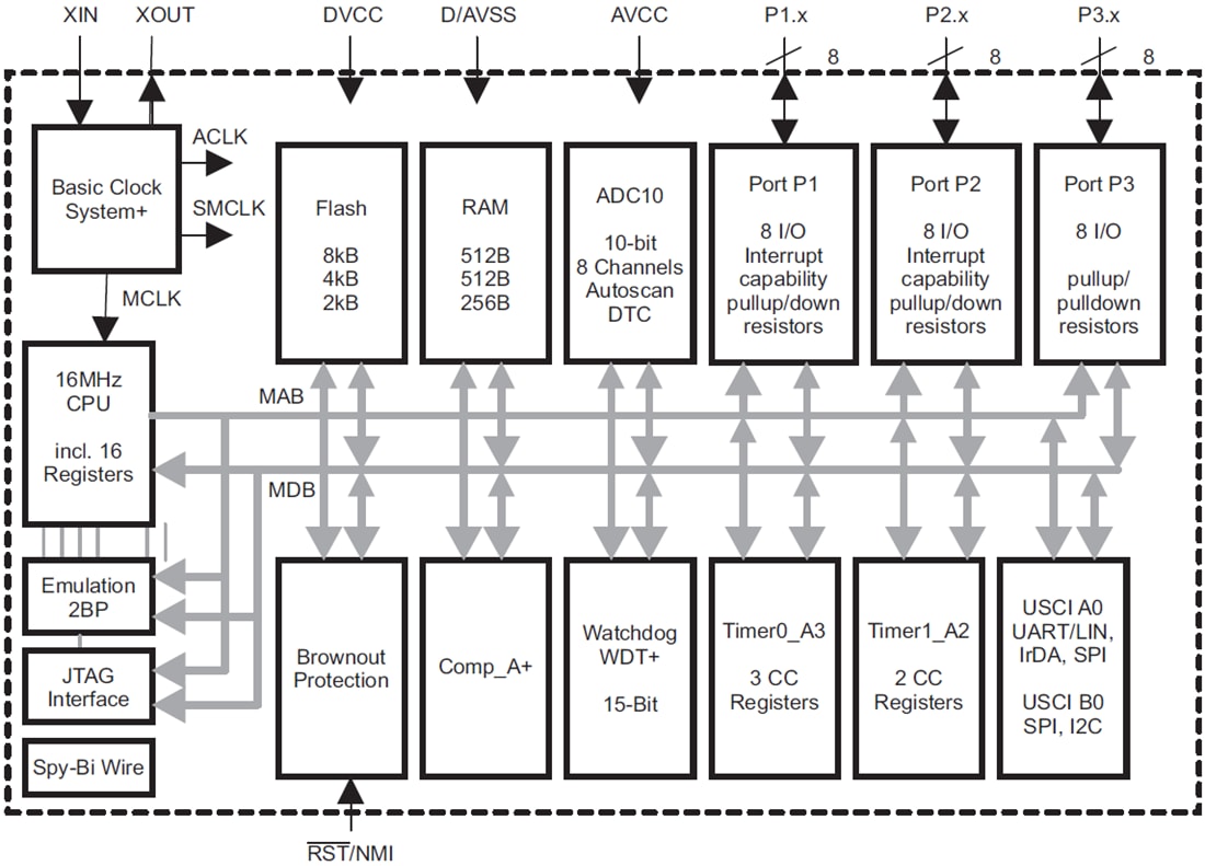
Texas Instruments MSP430F21x2 16-Bit Ultra-Low-Power Microcontrollers (MCUs) are part of the MSP430 family of microcontrollers. These MCUs have an architecture combined with five low-power modes optimized to achieve extended battery life in portable measurement applications. The device features a powerful 16-bit RISC CPU, 16-bit registers, and constant generators, contributing to maximum code efficiency. The digitally controlled oscillator (DCO) allows wake-up from low-power modes to active mode in less than 1µs.

The MSP430F21x2 has two built-in 16-bit timers, a fast 10-bit A/D converter with integrated reference, and a data transfer controller (DTC). It also includes a comparator, built-in communication capability using the universal serial communication interface, and 24 I/O pins. The Texas Instruments MSP430F21x2-EP devices have gold bond wires, a temperature range of –55 to +105°C, and an SnPb lead finish.

Features

  • 1.8V to 3.6V low supply voltage range 
  • Ultra-low power consumption
    • Active mode: 250µA at 1MHz, 2.2V
    • Standby mode: 0.7µA
    • Off mode (RAM retention): 0.1µA
  • Ultra-fast wake-up from standby mode in less than 1µs
  • 16-bit RISC architecture, 62.5ns instruction cycle time
  • Basic clock module configurations
    • Internal frequencies up to 16MHz with four calibrated frequencies to ±1%
    • Internal very-low-power low-frequency oscillator
    • 32kHz crystal
    • High-Frequency (HF) crystal up to 16MHz
    • Resonator
    • External digital clock source
    • External resistor
  • 16-bit Timer0_A3 with three capture/compare registers
  • 16-bit Timer1_A2 with two capture/compare registers
  • On-chip comparator for analog signal compare function or slope analog-to-digital (A/D) conversion
  • 10-bit 200ksps A/D converter with internal reference, sample-and-hold, auto-scan, and data transfer controller
  • Universal serial communication interface
    • Enhanced UART supporting auto-baud rate detection (LIN)
    • IrDA encoder and decoder
    • Synchronous SPI
    • I2C™
  • Brownout detector
  • Serial onboard programming, no external programming voltage needed, programmable code protection by security fuse
  • Bootstrap loader
  • On-chip emulation module
  • Family members include
    • MSP430F2132: 8KB + 256B Flash memory, 512B RAM
    • MSP430F2122: 4KB + 256B Flash memory, 512B RAM
    • MSP430F2112: 2KB + 256B Flash memory, 256B RAM
  • Available in 28-pin TSSOP (PW) and 32-Pin QFN (RHB or RTV) packages

Functional Block Diagram

Block Diagram - Texas Instruments MSP430F21x2 16-Bit Ultra-Low-Power MCUs
Published: 2019-01-25 | Updated: 2025-06-06