Texas Instruments CC3235x SimpleLink™ Wi-Fi® MCU Solution

Texas Instruments CC3235x SimpleLink™ Wi-Fi®, Dual-Band Single-chip Wireless MCU Solution integrates two processors within a single chip and comes in two variants, the CC3235S and CC3235SF. The CC3235S incorporates 256KB of RAM, IoT networking security, and device identity/keys. The CC3235S additionally offers MCU-level security features such as file system encryption, user IP (MCU image) encryption, secure boot, and debug security. The CC3235SF builds on the CC3235S and integrates a user-dedicated 1MB of executable flash in addition to the 256KB of RAM.

The Texas Instruments CC3235x SimpleLink Series provides a network processor to run all Wi-Fi and internet logical layers. The ROM-based subsystem completely offloads the host MCU, including an 802.11a/b/g/n dual-band 2.4GHz and 5GHz radio, baseband, and MAC with a powerful hardware cryptography engine. The CC3235x devices feature capabilities that simplify the connectivity of IoT applications. These features include 802.11a (5GHz) support, BLE/2.4GHz radio coexistence, antenna selection, enhanced security with FIPS 140-2 Level 1 certification, up to 16 concurrent secure sockets, and a certificate sign request (CSR).

Features

  • Multiple-core architecture, system-on-chip (SoC)
  • 802.11 a/b/g/n: 2.4GHz and 5GHz
  • FIPS 140-2 Level 1 Certification
  • Multilayered security features help developers protect identities, data, and software IP
  • Low-power modes for battery powered application
  • Coexistence with 2.4GHz radios
  • –40°C to +85°C industrial temperature 
  • Wi-Fi CERTIFIED™ by the Wi-Fi Alliance®
  • Application microcontroller subsystem
    • Arm® Cortex®-M4 core at 80MHz
    • User-dedicated memory
      • 256KB RAM
      • Optional 1MB executable Flash
    • Rich set of peripherals and timers
    • 27 I/O pins with flexible multiplexing options
      • UART, I2S, I2C, SPI, SD, ADC, 8-bit parallel interface
      • Timers and PWM
  • Wi-Fi network processor subsystem
    • Wi-Fi core
      • 802.11 a/b/g/n 2.4GHz and 5GHz
      • Modes:
      • Access Point (AP)
      • Station (STA)
      • Wi-Fi Direct® (only supported on 2.4GHz)
      • Security:
      • WEP
      • WPA™/WPA2™ PSK
      • WPA2 Enterprise
    • Internet and application protocols
      • HTTPs server, mDNS, DNS-SD, DHCP
      • IPv4 and IPv6 TCP/IP stack
      • 16 BSD sockets (fully secured TLS v1.2 and SSL 3.0)
    • Built-in power management subsystem
      • Configurable low-power profiles (always, intermittent, tag)
      • Advanced low-power modes
      • Integrated DC/DC regulators
  • Multilayered security features
    • Separate execution environments
    • Networking security
    • Device identity and key
    • Hardware accelerator cryptographic engines (AES, DES, SHA/MD5, CRC)
    • Application-level security (encryption, authentication, access control)
    • Initial secure programming
    • Software tamper detection
    • Secure boot
    • Certificate signing request (CSR)
    • Unique per device key pair
  • Application throughput
    • UDP: 16 Mbps, TCP: 13Mbps
    • Peak: 72Mbps
  • Power-Management Subsystem
    • Integrated DC/DC converters support a wide range of supply voltage:
      • VBAT wide-voltage mode: 2.1V to 3.6V
      • VIO is always tied with VBAT
    • Advanced low-power modes
      • Shutdown: 1µA, hibernate: 4.5µA
      • Low-power deep sleep (LPDS): 120µA
      • Idle connected (MCU in LPDS): 710µA
      • RX traffic (MCU active): 59mA
      • TX traffic (MCU active): 223mA
  • Wi-Fi TX power
    • 2.4GHz: 18.0dBm at 1 DSSS
    • 5GHz: 18.1dBm at 6 OFDM
  • Wi-Fi RX sensitivity
    • 2.4GHz: –96dBm at 1 DSSS
    • 5GHz: –92dBm at 6 OFDM
  • Clock source
    • 40.0MHz crystal with internal oscillator
    • 32.768kHz crystal or external RTC
  • RGK package
    • 64-Pin, 9mm × 9mm very thin quad flat nonleaded (VQFN) package, 0.5mm pitch
  • The device supports SimpleLink™ MCU Platform Developer’s Ecosystem

Applications

  • Internet of Things (IoT)
    • Building and home automation
      • HVAC systems and thermostats
      • Video surveillance, video doorbells, and low-power camera
      • Building security systems and E-locks
    • Appliances
    • Asset tracking
    • Factory automation
    • Medical and healthcare
    • Grid infrastructure

Videos

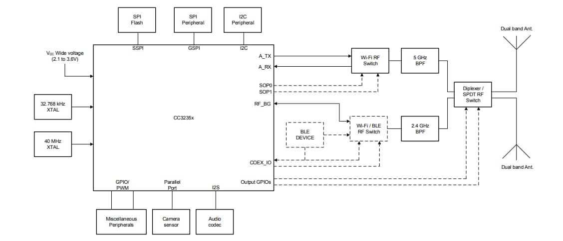
Functional Block Diagram

Block Diagram - Texas Instruments CC3235x SimpleLink™ Wi-Fi® MCU Solution

Hardware Overview

Block Diagram - Texas Instruments CC3235x SimpleLink™ Wi-Fi® MCU Solution
Published: 2019-02-19 | Updated: 2024-05-16