Texas Instruments AWRL1432 mmWave Radar Sensor

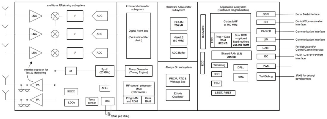
Texas Instruments AWRL1432 mmWave Radar Sensor is an integrated single-chip mmWave sensor based on FMCW radar technology. The device can operate in the 76GHz to 81GHz band and is partitioned into four power domains: RF/Analog Subsystem, Front-End Controller Subsystem (FECSS), Application Subsystem (APPSS), and Hardware Accelerator (HWA). AWRL1432 has separate controls for each power domain to control the device's states (power ON or OFF) based on use case requirements. It can exercise various low-power states like deep sleep and sleep, where the mode of low-power sleep is achieved by clock gating and turning off the device's internal IP blocks. In such scenarios, the device retains some of its contents, like the application image or RF profile.

Additionally, the device is built with TI's low-power 45nm RF CMOS process in an extremely small form factor and enables unprecedented levels of integration. AWRL1432 is designed for low-power, self-monitored, ultra-accurate radar systems in the automotive space for applications like kick-to-open, parking assist, blind spot detection, and door obstacle detection.

Features

  • FMCW transceiver
    • Integrated PLL, transmitter, receiver, baseband, and ADC
    • 76GHZ to 81GHz coverage with 5GHz continuous bandwidth
    • Three receive channels, and two transmit channels
    • Short range
    • 11dBm typical output power per Tx
    • 14dB typical noise figure
    • -89dBc/Hz typical phase noise at 1MHz
    • FMCW operation
    • 5MHz IF bandwidth, real-only Rx channels
    • Ultra-accurate chirp engine based on fractional-N PLL
    • Per transmitter binary phase shifter
  • Processing elements
    • Arm® M4F® core with single precision FPU (160MHz)
    • TI Radar Hardware Accelerator (HWA 1.2) for FFT, Log Magnitude, and CFAR operations (80MHz)
  • Supports multiple low-power modes
    • Idle mode and deep sleep mode
  • Power management
    • 1.8V and 3.3V IO support
    • Built-in LDO network for enhanced PSRR
    • BOM-optimized and power-optimized modes
    • One or two power rails for 1.8V IO mode, two or three power rails for 3.3V IO mode
  • 6.45mm x 6.45mm package size of FCCSP device 
  • Built-in calibration and self-test
    • Built-in firmware (ROM)
    • Self-contained on-chip calibration system
  • Host interface
    • UART
    • CAN-FD
    • SPI
    • LIN
  • RDIF (Radar Data Interface) for raw ADC sample capture
  • Other interfaces available to user application
    • QSPI
    • I2C
    • JTAG
    • GPIOs
    • PWM interface
  • Internal memory
    • 1MB of on-chip RAM
    • Configurable L3 shared memory for radar cube
    • Data and code RAM of (512/640/768KB)
  • Functional safety-compliant targeted
    • Developed for functional safety applications
    • Hardware integrity up to ASIL B targeted
  • FCCSP package with 12 x 12, 102 BGA balls
  • AECQ-100 qualified
  • Clock source
    • 40.0MHz crystal for the primary clock
    • Supports externally driven clock (square/sine) at 40.0MHz
    • 32kHz internal oscillator for low-power operations
  • Supports temperature operating range
    • -40°C to 125°C operating junction temperature range

Applications

  • Kick to open (Boot)
  • Automated parking
  • Car door opener
  • Cross-traffic assist (Front)
  • Blind spot detection
  • Lane change assist

Functional Block Diagram

Block Diagram - Texas Instruments AWRL1432 mmWave Radar Sensor
Published: 2024-08-20 | Updated: 2025-05-15