Texas Instruments AWR1642 77GHz to 79GHz Automotive mmWave Sensor
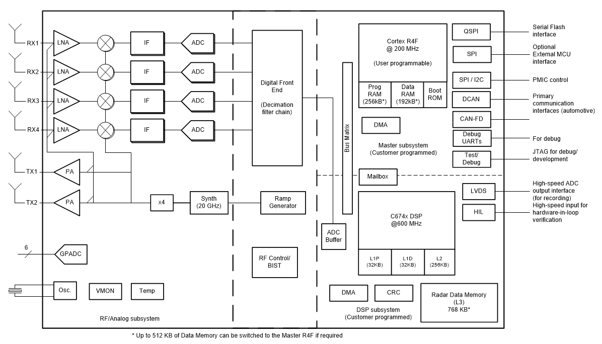
Texas Instruments AWR1642 77GHz to 79GHz Automotive mmWave Sensor is an integrated single-chip FMCW radar sensor built with Texas Instrument's low-power, 45nm RFCMOS process. The AWR1642 Sensor offers exceptional levels of integration, combining the RFCMOS process with an extremely small form factor. Self-monitored, ultra-accurate radar systems for automotive applications are the ideal solution for the AWR1642 Automotive mmWave Sensor.An Arm R4F-based processor subsystem is included, which implements radio configuration, control, and calibration. Short, mid, and long sensor executions are possible through a simple programming model change, with the possibility of dynamic reconfiguration for providing a multimode sensor. The Texas Instruments AWR1642 Sensors include reference hardware design, software drivers, sample configurations, API guide, and user documentation, creating a complete platform solution.
Features
- FMCW transceiver
- Integrated PLL, transmitter, receiver, baseband, and A2D
- 77GHz to 79GHz coverage with 4GHz available bandwidth
- Four receive channels
- Two transmit channels
- Ultra-accurate chirp (timing) engine based on fractional-N PLL
- TX power (12.5dBm)
- RX noise figure
- 14dB (76 to 77GHz)
- 15dB (77 to 81GHz)
- Phase noise at 1MHz
- –95dBc/Hz (76 to 77GHz)
- –93dBc/Hz (77 to 81GHz)
- Built-in calibration and self-test (monitoring)
- Arm® Cortex®-R4F-based radio control system
- Built-in firmware (ROM)
- Self-calibrating system across frequency and temperature
- C674x DSP for FMCW signal processing
- 1.5MB on-chip memory
- Cortex-R4F microcontroller for object tracking, classification, AUTOSAR, and interface control
- Supports autonomous mode (loading user application from QSPI Flash memory)
- Integrated peripherals
- Internal memories with ECC
- Host interface
- CAN (two instances, with one being CAN-FD)
- ASIL B targeted
- AECQ100 qualified
- AWR1642 advanced features
- Embedded self-monitoring with no host processor involvement
- Complex baseband architecture
- Embedded interference detection capability
- Power management
- Built-in LDO network for enhanced PSRR
- I/Os support dual voltage 3.3V/1.8V
- Clock source
- Supports external oscillator at 40MHz
- Supports externally driven clock (square/sine) at 40MHz
- Supports 40MHz crystal connection with load capacitors
- Easy hardware design
- 0.65mm pitch, 161-pin 10.4mm × 10.4mm Flip Chip BGA package for easy assembly and low-cost PCB design
- Small solution size
- Supports automotive temperature operating range
- Other interfaces available to user application
- Up to 6 ADC channels
- Up to 2 SPI channels
- Up to 2 UARTs
- I2C
- GPIOs
- 2-lane LVDS interface for raw ADC data and debug instrumentation
Applications
- Blind spot detection
- Lane change assistance
- Cross-traffic alert
- Parking assistance
- Occupancy detection
- Simple gesture recognition
- Car door opener applications
Additional Resources
- AWR1642 Datasheet
- Whitepaper: 77GHz Single Chip Radar Sensor Enables Automotive Body and Chassis Applications
- Whitepaper: AWR1642: 77GHz Radar-on-Chip for Short-Range Radar Applications
- Whitepaper: mmWave Radar: Enabling Greater Intelligent Autonomy at The Edge
- Whitepaper: Moving From Legacy 24GHz to State-Of-The-Art 77GHz Radar
- Whitepaper: Reliability Advantages of TI Flip-Chip BGA Packaging
- Whitepaper: The Fundamentals of Millimeter Wave Radar Sensors
Block Diagram
Published: 2018-05-31
| Updated: 2023-01-27
