Texas Instruments ADS131A0x Analog Front-End ICs
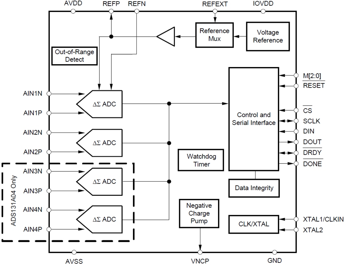
Texas Instruments ADS131A0x Analog Front-End ICs are two or four-channel, simultaneously-sampling, 24-bit, delta-sigma (ΔΣ), analog-to-digital converters (ADCs). The wide dynamic range, scalable data rates, and internal fault monitors make these devices ideal for energy monitoring, protection, and control applications. The ADC inputs can be independently and directly interfaced with a resistor-divider network, a transformer to measure voltage or current, or a Rogowski coil to measure current. Flexible power supply options, including an internal negative charge pump, are available to maximize the effective number of bits (ENOB) for high dynamic range applications. The Texas Instruments ADS131A0x support data rates up to 128kSPS. The complete analog front-end (AFE) solutions are packaged in a 32-pin TQFP package and are specified over the industrial temperature range of –40°C to +125°C.Features
- 2 or 4 simultaneously-sampling differential inputs
- Data rates up to 128kSPS
- Noise performance
- Single-channel accuracy better than 0.1% at 10,000:1 dynamic range
- ENOB (19.1 bits at 8kSPS)
- THD (–100dB at 50Hz and 60Hz)
- An integrated negative charge pump
- Flexible analog power-supply operation
- 3.0V to 3.45V using a negative charge pump
- 3.3V to 5.5V unipolar aupply
- ±2.5V bipolar supply
- 1.65V to 3.6V digital supply
- 4ppm/°C low-drift internal voltage reference
- ADC self-checks
- Cyclic Redundancy Check (CRC) and hamming code error correction on communications
- Multiple SPI™ data interface modes
- Asynchronous interrupt
- Synchronous master and slave
- 32-pin TQFP package
- Operating temperature range
- –40°C to +125°C
Applications
- Industrial power applications
- Single-phase and polyphase energy monitoring
- Protection relays, circuit breakers
- Power quality meters
- Data acquisition systems
Functional Block Diagram
Published: 2016-05-24
| Updated: 2022-03-11
