Monolithic Power Systems (MPS) MPQ5871 Smart High-Side Load Switches

Monolithic Power Systems (MPS) MPQ5871 Smart High-Side Load Switches provide a highly efficient and compact solution with a small on-resistance (RDS(ON)). These switches feature a 3.5V to 36V input voltage (VIN) range and a 1A nominal load. The MPQ5871 load switches support an internal current limit and a configurable high-accuracy external current limit. These switches incorporate full diagnostic capabilities in both on and off states. The MPQ5871 load switches are AEC-Q100 Grade 1 and AEC-Q100-012 test Grade A qualified.

The MPQ5871 load switches are available in a QFN-8 (2mm x 2.5mm) package. Typical applications include smart switches for automotive infotainment systems, power switches for Advanced Driver Assistance Systems (ADAS), and high-side power switches for sub-modules.

Features

  • Built to handle tough automotive transients:
    • Up to 42V load dump
    • Cold crank down to 3.5V
  • Cooler thermals:
    • Integrated 60mΩ MOSFET
  • Extends vehicle battery life:
    • 0.5µA extremely low standby current
  • Flexibility:
    • Configurable external current limit
    • Adjustable start-up slew rate
    • Compatible with 3.3V and 5V logic
  • Reduces board size:
    • Available in a QFN-8 (2mm x 2.5 mm) package
  • Full diagnostics and protections:
    • Supports functional safety application
    • ±4% at 1A and ±6% at 300mA high-accuracy current sense
    • On-state and off-state open-load and battery short detection
    • Thermal shutdown
    • Available in a wettable flank package
    • Available in AEC-Q100 Grade 1
    • Available in AEC-Q100-012 test Grade A

Applications

  • Smart switches for automotive infotainment systems
  • Power switches for Advanced Driver Assistance Systems (ADAS)
  • High-side power switches for sub-modules
  • General resistive, inductive, and capacitive loads

Typical Application Circuit Diagram

Application Circuit Diagram - Monolithic Power Systems (MPS) MPQ5871 Smart High-Side Load Switches

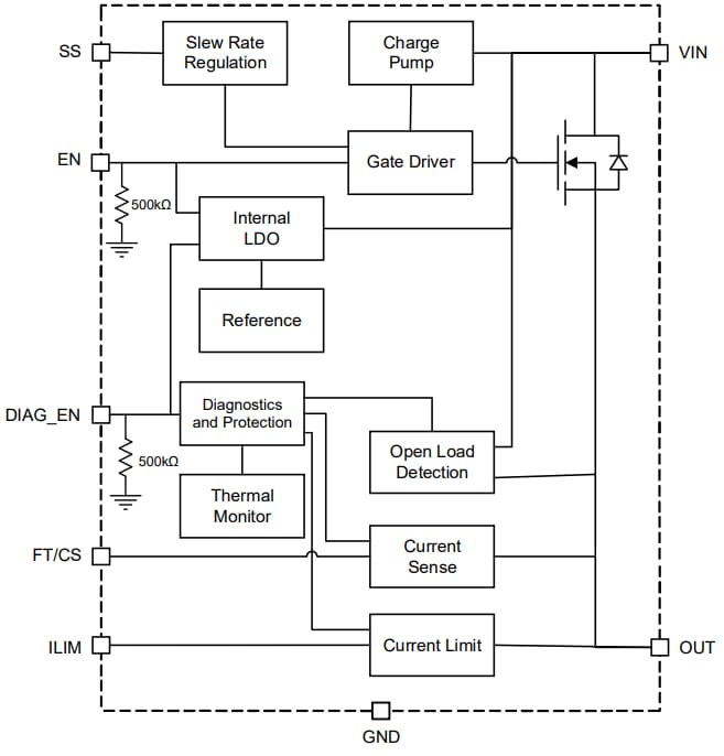
Block Diagram

Block Diagram - Monolithic Power Systems (MPS) MPQ5871 Smart High-Side Load Switches

Videos

Published: 2024-10-17 | Updated: 2024-10-23