Microchip Technology PIC16F15355 8-bit Microcontroller
Microchip Technology PIC16LF15355 8-bit Microcontrollers feature essential peripherals like Intelligent Analog, Core Independent Peripherals (CIPs), and communication combined with eXtreme Low-Power (XLP) for a wide range of low-power applications. The PIC16F15355 Microcontroller family features multiple Pulse Width Modulations (PWM), multiple communication, temperature sensor, and memory features like Memory Access Partition (MAP) and Device Information Area (DIA). These devices are offered in 28-pin SPDIP, SSOP, SOIC, and UQFN packages to support customers in various applications.Features
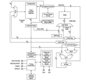
- Enhanced Mid-range Core with 49 Instruction, 16 Stack Levels
- Flash Program Memory with self-read/write capability
- eXtreme Low Power (XLP)
- IDLE and DOZE low power modes
- Peripheral Module Disable (PMD)
- Peripheral Pin Select (PPS)
- 4x 10-bit PWMs
- 2x Capture, Compare, PWM (CCP)
- Complementary Waveform Generator (CWG)
- Numerically Controlled Oscillator (NCO)
- 4x Configurable Logic Controller (CLC)
- 24 Channel 10-bit ADC with Voltage Reference
- 5-bit Digital to Analog Converter (DAC)
- 2x Comparators
- 1x 8-bit Timers (TMR0/TMR2)
- 2x 16-bit Timer (TMR1)
- Window Watchdog Timer (WWDT)
- Enhanced Power-On/Off-Reset
- Low-Power Brown-Out Reset (LPBOR)
- Programmable Brown-out Reset (BOR)
- In-Circuit Serial Programming (ICSP)
Specifications
- Program Memory Type Flash
- Program Memory 4KB
- CPU Speed 8MIPS
- RAM Bytes 1024
- Digital Communication Peripherals:
- 2-UART
- 2-SPI
- 2-I2C
- Capture/Compare/PWM Peripherals 2 CCP
- Timers
- 1x 8-bit
- 2x 16-bit
- ADC: 24 channel, 10-bit
- Comparators 2
- Temperature Range -40ºC to 125ºC
- Operating Voltage Range 1.8V to 3.6V
- Package options
- 28-pin SPDIP
- 28-pin SOIC
- 28-pin SSOP
- 28-pin UQFN 4mm x 4mm
Additional Resources
Published: 2016-11-23
| Updated: 2022-03-11
