Microchip Technology EMC1414 Multichannel Temperature Sensors

Microchip Technology EMC1414 Multichannel Temperature Sensors are high-accuracy and low-cost System Management Bus (SMBus) temperature sensors. The EMC1414 temperature sensors monitor four temperature channels and provide ±1°C accuracy for diode temperature. These multichannel temperature sensors feature Resistance Error Correction (REC), Beta Compensation, and automatic diode type detection, providing a robust solution for complex environmental monitoring applications. The EMC1414 temperature sensors are ideally used in notebook computers, desktop computers, and industrial and embedded applications.

Features

  • Programmable SMBus address
  • Support for diodes requiring the BJT/transistor model:
    • Supports 45nm, 65nm, and 90nm CPU thermal diodes
  • Automatically determines external diode type and optimal settings
  • Resistance Error Correction (REC)
  • Up to 3 external temperature monitors:
    • ±1°C max accuracy (20°C < TDIODE < 110°C)
    • 0.125°C resolution
    • Supports up to 2.2nF diode filter capacitor
    • Anti-parallel diodes for extra diode support
  • Internal temperature monitor:
    • ±1°C accuracy
    • 0.125°C resolution
  • 3.3V supply voltage
  • Programmable temperature limits for ALERT
  • Available in these lead-free RoHS-compliant packages:
    • 10-pin 3mm x 3mm DFN
    • 10-pin MSOP

Applications

  • Notebook computers
  • Desktop computers
  • Industrial
  • Embedded

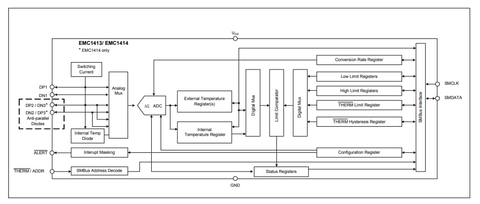
Block Diagram

Block Diagram - Microchip Technology EMC1414 Multichannel Temperature Sensors
Published: 2019-12-23 | Updated: 2023-06-12