Infineon Technologies ICL8830 Single-Stage PFC Flyback Controller

Infineon Technologies ICL8830 Single-Stage Power Factor Correction (PFC) Flyback Controller is a high-performance device designed for cost-effective and energy-efficient power supply solutions. Tailored for high-frequency switching operation, this controller is capable of driving GaN and Si MOSFET switching devices. The Infineon ICL8830 integrates PFC and quasi-resonant flyback control into a single IC. The controller features a wide input voltage range (90VAC to 300VAC), adjustable maximum on-time, and a comprehensive protection suite, including overvoltage, overcurrent, brown-in/out, and overtemperature protection. Additionally, the ICL8830 includes burst mode operation for ultra-low standby power and a jitter function to ease EMI compliance, making it ideal for modern, compact, and efficient power supply designs.

Features

  • SSR-CV output flyback topology
  • Optimized for high-frequency operation, suitable for operation with GaN devices
  • High power factor and low THD, across a wide AC input voltage and output load range
  • Supports universal AC input voltage (90VAC to 300VAC, 45Hz to 66Hz) and DC input voltage operation
  • QRM operation with valley switching and continuous conduction mode (CCM)-prevention
  • Burst mode for very light loads and low system standby power consumption
  • Adjustable on-time mapping at the valley changing position, for the desired maximum operating switching frequency
  • Adjustable maximum on-time (limits input power and current, allowing safe operation under low line conditions)
  • Soft start to reduce component stress during turn-on
  • External start-up circuit control signal
  • Reduced gate driver voltage during start-up sequence, to allow smaller VCC capacitance for faster start-up
  • VCC wake-up burst operation, to maintain sufficient VVCC in burst mode
  • Reduced gate driver voltage in burst mode, to reduce gate charge loss for lower standby power
  • Comprehensive set of protections
    • Internal over-temperature protection (OTP)
    • Flyback output overvoltage protection (OVP)
    • Primary side overcurrent protection (OCP)
    • Brown-in protection
    • Brown-out protection
    • VCC overvoltage protection
    • Open-loop protection
    • Input overvoltage protection

Applications

  • High-frequency PFC flyback SSR-CVs
    • SMPS
    • LED drivers, smart lighting, and emergency lighting
    • Adapters, chargers, home appliances, and ceiling fans

Specifications

  • -0.5V to 26V maximum VCC voltage range
  • 0.5W maximum power dissipation at +50°C
  • 23V maximum operating supply voltage
  • Power supply
    • 12.0V to 13.1V maximum VCC turn-on threshold range
    • 30μA typical start-up current
    • 2.0mA typical supply current
    • 220μA typical supply current during burst pause
    • 40μA typical supply current in protection mode
  • Zero crossing detection
    • 45mV typical falling edge
    • 55mV typical rising edge, 90mV maximum
    • 400mV to 700mV clamping range of positive voltages
    • -600mV to -400V clamping range of negative voltages
  • Voltage sense
    • 0.5µA to 1.5µA bias current range
    • 1.56V to 1.63V voltage source for optocoupler/feedback supply
    • 102µA to 154µA current threshold range for start-up
    • 2.64V to 2.76V open pin turn-off range
    • 2.54V to 2.66V voltage range for restart after overvoltage turn-off
    • ADC current limit
      • 166µA to 260µA lower (for maximum on-time during operation)
      • 500µA to 720µA upper (for minimum on-time in burst mode)
  • 185K/W maximum junction-to-ambient thermal resistance
  • Input voltage detection
    • 150mV to 250mV pin short-to-GND threshold
    • 1.9V to 2.1V overvoltage threshold
  • TD configuration
    • 32kΩ to 48kΩ internal pull-up resistance for pre-start-up RTD measurement
    • 8kΩ to 12kΩ internal pull-up resistance for RUN state and pre-start-up RTD measurement
    • 18kΩ to 68kΩ TD pin resistance-to-ground, for configuration and to activate VS pin load current sensing for output regulation
  • Current sense
    • 570mV to 650mV OCP1 turn-off threshold range
    • 160ns typical OCP1 leading-edge blanking time
    • 1140mV to 1260mV OCP2 turn-off threshold range
    • 150ns typical OCP2 trigger time
    • 0.5µA to 1.5µA CS pull-up current
  • PWM generation
    • 47µs to 60µs repetition time range
    • 42µs to 52.5µs off-time range
  • Gate driver
    • 125mA minimum source current
    • 250mA minimum sink current
    • 10.4V to 11.6V peak voltage range
    • 6.5V to 7.5V reduced peak voltage range
  • Clock oscillators
    • 200ms typical restart time
    • 25ms typical fast restart time
  • Temperature sensors
    • ±6°C relative accuracy
    • +130°C typical shutdown temperature
  • ESD ratings
    • 2kV maximum Human Body Model (HBM) per ANSI/ESDA/JEDEC JS-001
    • 500V maximum Charged-Device Model (CDM) per ANSI/ESDA/JEDEC JS-002
  • PG-DSO-8 package
  • -40°C to +150°C maximum juntion temperature range
  • +260°C maximum soldering temperature

Application Circuit Diagrams

Application Circuit Diagram - Infineon Technologies ICL8830 Single-Stage PFC Flyback Controller

Block Diagram

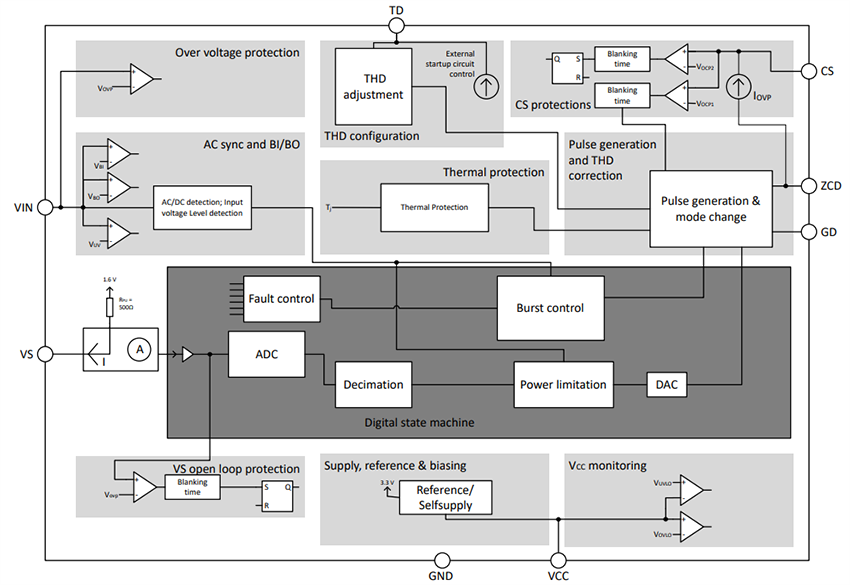
Block Diagram - Infineon Technologies ICL8830 Single-Stage PFC Flyback Controller
Published: 2025-06-20 | Updated: 2025-07-31