Analog Devices Inc. ADRF5050 Nonreflective Silicon SP4T Switches

Analog Devices Inc. ADRF5050 Nonreflective Silicon SP4T Switches implement a silicon-on-insulator (SOI) process. The device performs from 100MHz to 20GHz with an insertion loss of less than 1.20dB and isolation higher than 47dB. The ADRF5050 features an RF input power handling capability of 33dBm for through paths.

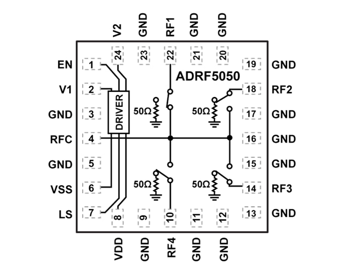
The ADI ADRF5050 nonreflective silicon SP4T switches have a +3.3V and -3.3V dual-supply voltage operation. Additionally, the device operates with a single positive supply voltage (VDD) applied while the negative supply pin (VSS) is tied to the ground.

The ADRF5050 utilizes compatible controls with complementary metal-oxide semiconductor (CMOS)- and low-voltage transistor-to-transistor logic (LVTTL). The device includes enable and logic select controls to feature all off-state and port mirroring.

The ADRF5050 is pin compatible with the ADRF5042 and ADRF5043 and is available in a 24-terminal, 3mm × 3mm, RoHS compliant, land grid array (LGA) package and operates from -40°C to +105°C.

Features

  • Ultrawideband frequency range of 100MHz to 20GHz
  • Nonreflective 50Ω design
  • Low insertion loss
    • 0.9dB typical to 6GHz
    • 1.00dB typical to 12GHz
    • 1.20dB typical to 20GHz
  • High isolation between RFx and RFx
    • 54dB typical to 6GHz
    • 50dB typical to 12GHz
    • 47dB typical to 20GHz
  • High RF power handling
    • Through path of 33dBm up to 20GHz
    • Terminated path of 18dBm up to 20GHz
  • High input linearity
    • P0.1dB of 34dBm typical
    • IP3 of 55dBm typical
  • Switching on/off time of 55ns
  • 0.1dB settling time (50% VCTRL to 0.1dB final RFOUT) of 80ns
  • All off-state control
  • Logic select control
  • Single-supply operation with derated power handling
  • No low-frequency spurs
  • 24-terminal, 3mm × 3mm, land grid array (LGA) package
  • Pin compatible with the ADRF5042 and ADRF5043

Applications

  • Test instrumentation
  • Military radios, radars, and electronic countermeasures (ECMs)
  • Microwave radios and very small aperture terminals (VSATs)

Functional Block Diagram

Block Diagram - Analog Devices Inc. ADRF5050 Nonreflective Silicon SP4T Switches
Published: 2023-04-28 | Updated: 2025-09-15